Крепление для сегментов антенного рефлектора

Патент на изобретение 2639271 от 20.12.2017
Авторы: Пасечник К.П., Власов А.Ю.

Изобретение относится к антенной технике, в частности к разборным антенным рефлекторам, и может быть использовано при разработке конструкций прецизионных разборных антенных рефлекторов из полимерных композиционных материалов. Заявленное крепление для сегментов антенного рефлектора включает сегменты рефлектора, закрепленные по боковым сторонам между собой и гайкой на ступице, при этом на узкой стороне лицевой поверхности каждого из сегментов расположен уголок, а на узкой стороне тыльной поверхности каждого из сегментов размещена магнитная прижимная пластина, соединенная с уголком, причем на ступице по кругу расположены пазы, размерно соответствующие вертикальной стороне уголка, при этом количество пазов на ступице равно количеству сегментов рефлектора. Технический результат заключается в обеспечении быстрого монтажа и демонтажа сегментов антенного рефлектора из полимерного композиционного материала и повышении срока службы антенного рефлектора.

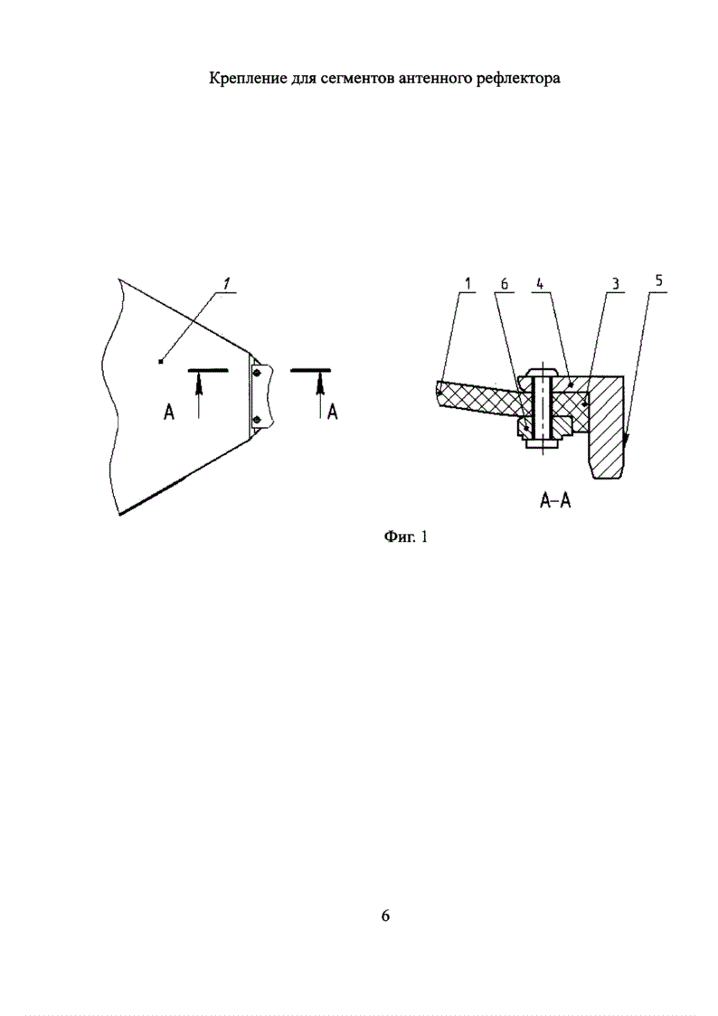
Фотография 1 - Вид сверху сегмента рефлектора и разрез А-А.

Фотография 2 - Ступица с расположенными по кругу пазами.

Крепление для сегментов антенного рефлектора включает сегменты (1) антенного рефлектора, например, выполненные из полимерного композиционного материала, закрепленные по боковым сторонам между собой и гайкой (на чертеже не показана) на ступице (2). На узкой стороне (3) лицевой поверхности каждого из сегментов (1) расположен уголок (4), одна из сторон которого является вертикальной (5). На узкой стороне (3) тыльной поверхности каждого из сегментов (1) антенного рефлектора размещена магнитная прижимная пластина (6). Магнитная прижимная пластина (6) соединена с уголком (4), например, при помощи заклепочного соединения. На ступице (2) по кругу расположены пазы (7), по размеру соответствующие вертикальной стороне (5) уголка (4). Количество пазов (7) на ступице (2) равно количеству сегментов (1) антенного рефлектора.